根据《网络安全法》规定,账号需要绑定手机号才可以使
用评论、发帖、打赏。
请及时绑定,以保证产品功能顺畅使用。
禧玛诺专利揭示全新后拨挂钩与1x13传动系统目标
随着一项揭示双臂后拨挂钩系统和可能推出的13速无线传动专利的公布,禧玛诺与SRAM之间的永恒竞争或将开启新篇章。这份编号为US 18/653358的专利申请,展示了这家日本品牌前所未有的设计,可能彻底改变其未来Di2套件与车架的连接方式。

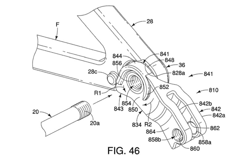
外媒Pinkbike在专利库中发现的文件描述了一种用两条金属臂固定后拨的结构,取代了传统单侧连接车架的形式。这与SRAM的“全固定式”设计(后拨与勾爪两侧形成整体)形成对比。禧玛诺的方案是让两个组件直接“环抱”后拨本体而非车架,从而提供额外结构强化。
兼容性与刚性提升并重
该组件底座仍兼容业界广泛采用的UDH标准。一切迹象表明,新结构旨在提升刚性及变速精度,这两点对当前电子传动系统至关重要。尽管额外刚性可能违背禧玛诺“后拨钩应通过弯折保护后拨”的传统理念,但此举有望减少撞击导致的错位,提升高精度系统的对中性。
13速无线传动系统初现端倪
除挂钩设计外,专利文件明确提及搭载13片飞轮的传动系统及集成于后拨的电机,直指新一代全无线Di2套件的开发。申请中的图示细节更接近公路/砾石车后拨,引发业界对禧玛诺即将推出13速电子套件进军高端砾石市场的猜测,但未来延伸至山地车领域也未可知。
13速竞赛格局生变
若13速系统落地,禧玛诺将正面对抗已先行一步的SRAM T-Type传动与Rotor等品牌,通过扩展齿比范围和缩小档位落差,为竞技砾石车手提供更具吸引力的解决方案。

目前这仅是专利阶段,禧玛诺尚未官方确认。但专利出现的时间点恰逢XTR、XT与Deore Di2系列近期更新,暗示品牌已在布局下一代技术突破。若设计投产,我们或将见证结合UDH兼容性、更高结构刚性、以及13速电子无线化飞跃的全新固定标准。
责任编辑:Ting