根据《网络安全法》规定,账号需要绑定手机号才可以使
用评论、发帖、打赏。
请及时绑定,以保证产品功能顺畅使用。
Wahoo为新型智能骑行台申请专利,竟暗藏…隐形抽屉?
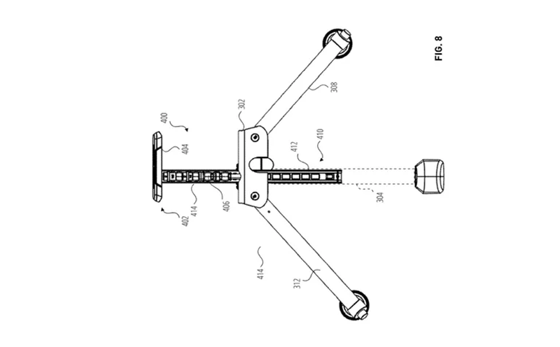
健身科技品牌Wahoo为一款内置抽屉的新型智能骑行台申请了专利。这项名为“带集成存储功能的骑行训练设备”的专利于今年初创建,上周由美国专利商标局公布。专利图中的智能骑行台外观与该品牌旗舰产品KICKR完全一致,但额外在中间支撑腿处增设了一个隐藏式管状抽屉。

Wahoo在专利中解释,设计灵感源于对“便捷且空间高效存储”的“需求”,以避免用户丢失骑行台必备配件。专利文件写道:“例如,室内骑行台可能包含适配器等组件,以兼容不同规格的轴连接(如快拆、桶轴)、后飞轮、叉间距等。用户偶尔还需使用特定工具对设备进行维护。适配器和工具通常是小部件,极易遗失,导致用户耗费时间寻找配件,甚至承担更换丢失配件的成本。”

Wahoo进一步探讨了抽屉的不同设计:既可“模制”成特定形状以容纳专用配件,也可采用通用造型存放用户个人物品。专利称:“抽屉的形状、尺寸及集成功能取决于其所在支撑构件的特性。”此外,这一“抽屉概念”未来可能扩展到其他室内骑行设备及健身器械。
需注意,与所有专利一样,此项设计未必已投入生产或确定上市。专利申请旨在保护创意知识产权,为品牌未来开发预留空间。今年早些时候,Wahoo还申请了一款可左右倾斜的动感单车专利。

Wahoo发言人在接受外媒采访时表示:“除持续创新以践行‘助力每个人成为更好运动员’的使命外,我们不对未来产品规划置评。”